
長沙代理記賬市場需求不斷增長,很多企業紛紛尋求便捷高效的代理記賬軟件來解決日常財務管理問題。那么,長沙代理記賬軟件有哪些呢?

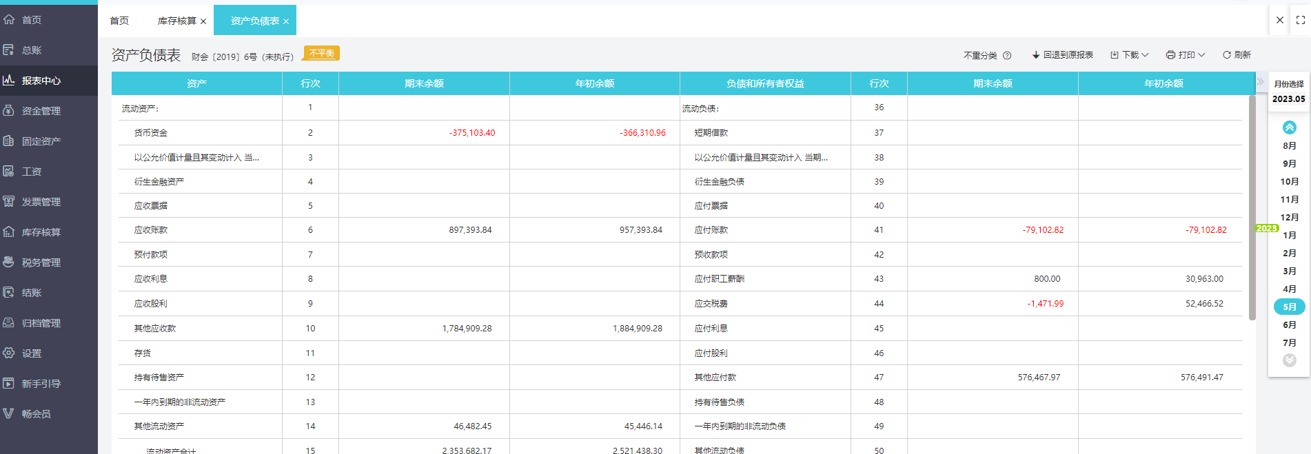
△易代賬產品截圖
易代賬
易代賬是一款功能強大的代理記賬軟件,它擁有簡潔易用的界面和豐富的功能模塊,能夠滿足不同行業的企業財務管理需求。用戶可以通過易代賬進行憑證錄入、稅務申報、報表打印等操作,極大地提高了財務工作效率。
某金代賬
某金代賬是另一款備受青睞的代理記賬軟件,它具有靈活多樣的財務處理功能和完善的數據管理系統。某金代賬可以幫助用戶輕松應對不同復雜的財務業務,幫助企業實現財務數據的快速、準確處理。
快稅寶
快稅寶是一款專業的財稅管理軟件,它結合了代理記賬和稅務申報的功能,為用戶提供了全面的財務服務。快稅寶能夠智能識別稅務風險點,幫助企業合法節稅,是財務管理的得力助手。

△易代賬產品截圖
宏碁代賬
宏碁代賬是一款人性化的代理記賬軟件,擁有友好的操作界面和實用的財務管理功能。宏碁代賬能夠快速完成企業的業務憑證錄入、報表匯總等工作,大大提高了財務處理的效率。

△易代賬產品截圖
總結
長沙代理記賬軟件種類繁多,企業可以根據自身的財務管理需求和預算選擇適合的軟件產品。無論是易代賬、某金代賬、快稅寶還是宏碁代賬,都能夠幫助企業實現財務管理的高效運作,提升競爭力。
在選擇和使用代理記賬軟件時,企業需要根據自身實際情況進行評估和比較,確保選擇到最適合的軟件產品,從而提升企業財務管理的水平和效率。
如果您有代理記賬方面的需求,不妨試試以上推薦的軟件,相信能為您的企業帶來更好的財務管理體驗。


